
Подвесной комплект Feron для AL2113 LD510 21661
характеристики
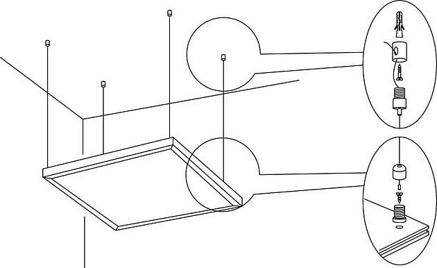
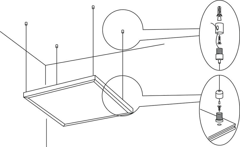
Описание

(не забудьте заказать пропуск у менеджера)








Москвы и Санкт-Петербурга
Покупатель вправе отказаться от товара в любое время до его передачи, а после его передачи в течение 7 (семи) дней.
Возврат товара надлежащего качества возможен в случае, если сохранены его товарный вид, потребительские свойства, а также документ, подтверждающий факт и условия покупки указанного товара. При отказе потребителя от товара Продавец обязан возвратить Покупателю денежную сумму, уплаченную последнему по договору, за исключением расходов продавца на доставку от Покупателя возвращенного товара, не позднее чем через десять дней со дня предъявления Покупателем соответствующего требования.
Возврат и обмен товара возможен только при сохранении его внешнего вида, целостности упаковки и документов.
Если вы обнаружите дефект в течение 7 дней, мы произведем бесплатную замену товара.
Подробнее18 месяцев расширенной гарантии на светильники при условии монтажа нашим специалистом.
На весь товар интернет-магазина «ВамСвет» распространяются условия фирменных гарантий производителей. Для проведения обслуживания клиенту необходимо предоставить товар и чек, подтверждающий его покупку у нас.
Подробнее
- ОтзывыОб этом товаре отзывов пока нет. Будьте первым!Ваш отзыв поможет кому-то сделать выбор. Спасибо, что делитесь опытомНаписать отзыв

Для дизайнеров и архитекторов:
8 (495) 626-52-22
design@vamsvet.ru
Для оптовых клиентов:
8 (495) 937 47 40
info@vamopt.ru








